您当前位置:首页 » 水利工程 » 水利图纸 » 大坝堤防

2024 水系修复工程施工图 63P

  • 资料等级:
  • 授权方式:资料共享
  • 发布时间:2026-03-16
  • 资料类型:RAR
  • 资料大小:30.6 MB
  • 资料分类:水利图纸
  • 运行环境:WinXp,Win2003,WinVista,Win ;
  • 解压密码:gc5.com
2024 水系修复工程施工图 63P
主要建设内容:1.根据不同河段堤防现状,新增驳岸挡墙,分为六种形式,共计380米;2.原有堰坝增加汀步,新增亲水汀步;3.新增亲水休闲平台节点,新增儿童游乐设施装置;4.新增观水廊架一处、紫藤廊架一处、油布伞装饰构架一处:
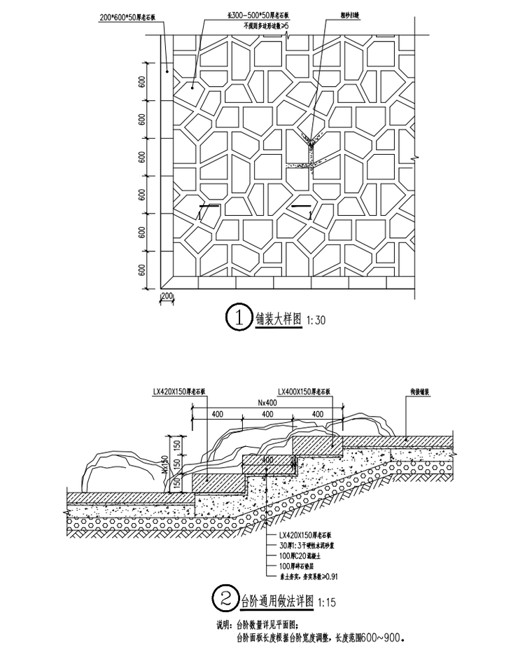
资料截图
  • 2024 水系修复工程施工图 63P
  • 2024 水系修复工程施工图 63P