1 背景技术
筏板导墙是建筑施工中的常见结构,其主体结构是在筏板主体上浇筑导墙结构,且导墙的中间浇筑有凸出其顶面的止水钢板,施工监测时,需对筏板导墙厚度、止水钢板位置及高度进行测量验收,在测量时通过钢卷尺分别测量筏板导墙位于止水钢板两侧的厚度,以确定止水钢板的位置是否合格,然后将两侧厚度值与止水钢板厚度值相加得到筏板导墙的整体厚度值,测量过程烦琐、测量效率低,且无法通过一次性测量获得筏板导墙的厚度,由于测量误差的累计,导致最终测量数据存在较大误差,因此无法准确、直观地判断施工质量。
2 具体操作方法
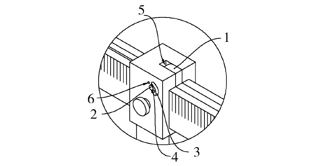
筏板导墙测量工具,属于工程监测技术领域。包括主量杆、移动卡件及副量杆。其中,主量杆侧壁设有沿其轴向分布的第一刻度值,一端设有垂直主量杆轴向延伸的固定卡爪;移动卡件沿主量杆轴向滑动套设于主量杆上,移动卡件用于与固定卡爪配合卡紧筏板导墙的两侧壁;副量杆沿主量杆轴向滑动穿设于移动卡件上,副量杆一端穿过移动卡件延伸至移动卡件与固定卡件间,且延伸端用于与止水钢板的板面抵接;副量杆侧壁设有沿其轴向分布的第二刻度值(图1~图3)。

图1筏板导墙测量工具示意
1—主量杆;2—移动卡件;3—副量杆;4—挡杆;5—第一刻度值;6—固定卡爪;7—容置槽;8—滑套;9—定位螺钉;10—移动卡爪;11—第二刻度值;12—挡块;13—弹簧

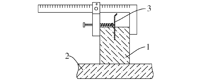
图2筏板导墙测量工具局部示意1
1—筏板导墙;2—筏板;3—止水钢板

图3筏板导墙测量工具局部示意2
1—定位块;2—铰接轴;3—操作柄;4—插杆;5—安装槽;6—插孔
3 使用优势
此方法通过固定卡爪与移动卡件共同卡紧筏板导墙的两侧壁,并将副量杆的抵接端与止水钢板的板面抵接,读取移动卡件在主量杆上位置所对应的第一刻度值,获得筏板导墙的整体厚度值,读取副量杆在移动卡件上的位置所对应的第二刻度值,获得止水钢板相对于筏板导墙的位置数值,通过一次测量即可获取所需的测量数据,测量效率高、测量误差小。
